NEX-5R国内発表2012年11月16日発売。予想よりも初値が高そうだな・・・

店頭予想価格はボディ単体(ブラックのみ)が8万円前後、E PZ 16-50mm F3.5-5.6 OSSをセットにしたパワーズームレンズキットが9万5,000円前後、パワーズームレンズキットにE 55-210mm F4- […]

店頭予想価格はボディ単体(ブラックのみ)が8万円前後、E PZ 16-50mm F3.5-5.6 OSSをセットにしたパワーズームレンズキットが9万5,000円前後、パワーズームレンズキットにE 55-210mm F4- […]

毎度のデジカメInfoさん情報です。 液晶モニタはNEX-F3と似た180度チルトする設計で、下側にも50度チルトする。これはNEX-5Nからの大きな改善点で、より柔軟性に富むものとなっているが、2軸式の可動式モニタには […]

液晶が超下向くように改善されているんですね。(^^) 像面位相差AFの対応レンズにMainで使う予定のE18-200mmF3.5-6.3OSSも入っているみたい。 発売が10月中旬って所が残念ですね・・・ でも逆に考えれ […]

毎度のデジカメinfoさん情報です。 1610万画素APC-C CMOS Exmor センサー 新型のBIONZ画像処理エンジン ISO100-25600 動画はフルHD、1980×1080/60p AVCHD […]

前日の中華画像と違ってCoolな感じですな。 値段次第だけどほぼ購入決定ですね。(^^) 液晶はNEX-F3と同じ自分撮り可能な奴なんですね。 NEX-F3の液晶は下にはほとんど向けられないらしいんで微妙だなぁ・・・ S […]

汎用ダイヤルが一個ついてる。☆-(ノ゚Д゚)八(゚Д゚ )ノイエーイ 録画ボタンが誤って押しにくい位置に移動している。☆-(ノ゚Д゚)八(゚Д゚ )ノイエーイ 使わなくて無駄だったフラッシュのボタンがISO感度の変更ボタ […]

NEX-5Wレンズキットが1万8000円 FisheyeConverterが1000円 合わせて1万9000円でした。 「大体2万円位かな?」と思って近くの中古カメラ屋に売ったのですが一歩及ばずでした・・・ 一応鑑定結果 […]

毎度のデジカメinfoさん情報です。 NEX-5Rはキットレンズ付きで$700程度になるって書いてありますね。 ちょっと高いな。 ボディ単体だといくらになるんだろう? まあ円高だし・・・初値で6万円を切って来るかな? ボ […]

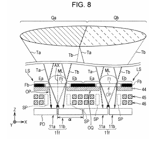
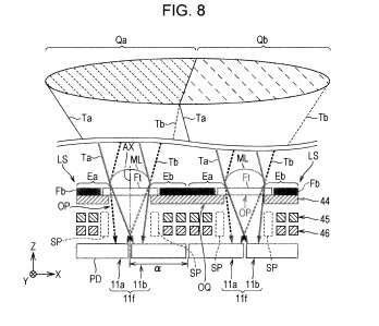
デジカメinfoさんに書いてあります。 ソニーNEX-5Rには像面位相差AFが採用される? SR5なので信用しても良い噂だと思います。 これはついにNEX-5のリプレースの時が来たのかもしれません。 NEX-5NやNEX […]